

Versandkosten werden im Checkout berechnet.
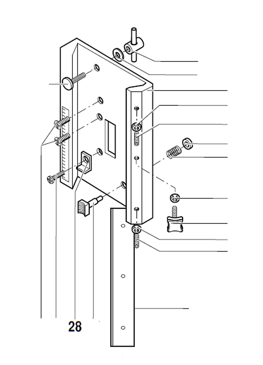
PROXXON 28922 Schleifband Korn 80 für Blockbandschleifer BBS und BBS/SProxxon

Versandkosten werden im Checkout berechnet.
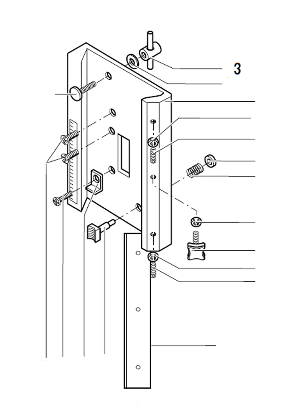
PROXXON 28526 Blockbandschleifer BBS/SProxxon
Versandkosten werden im Checkout berechnet.
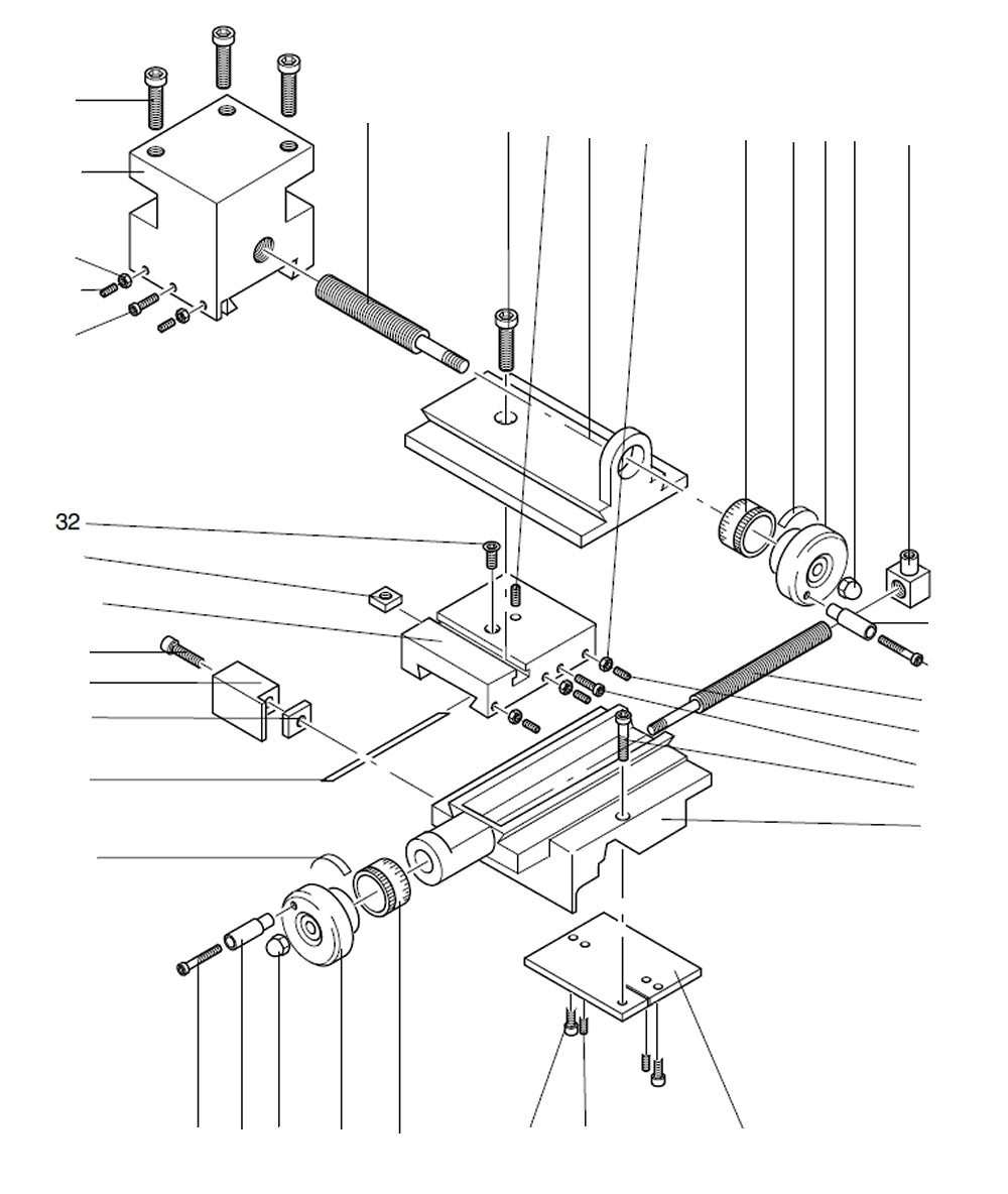
PROXXON 24082 Schneideisenhalter mit Schneideisen für Drehmaschine PD230/e & PD250/e & PD 400Proxxon
Versandkosten werden im Checkout berechnet.
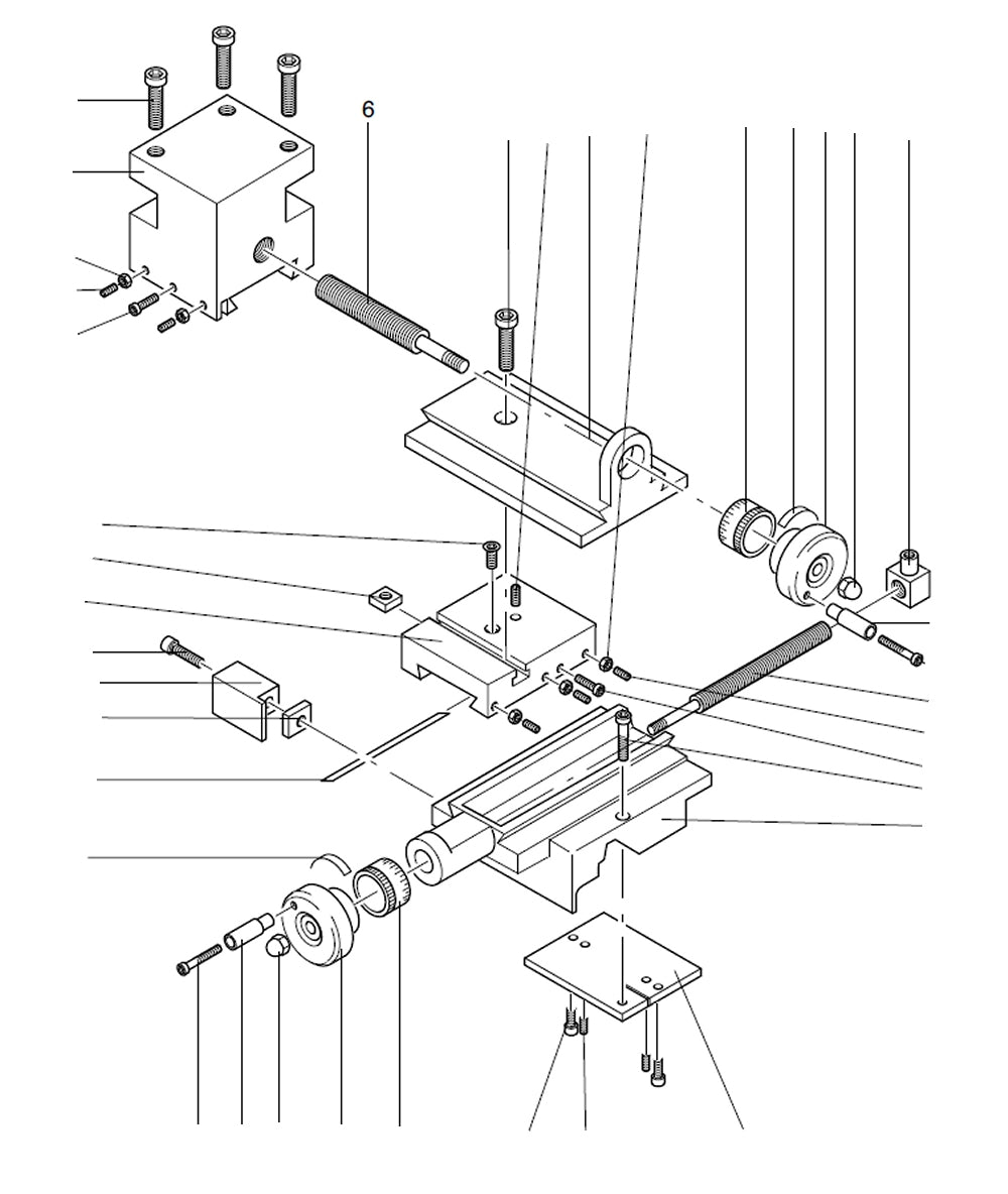
PROXXON 24554 Ersatzklinge für Abstechstahlhalter 24117 & 24217Proxxon

Versandkosten werden im Checkout berechnet.
PROXXON 28200 Satz Spannzangen max. Ø6mm für TBH 28124 & BFW 40/e 20165Proxxon

Versandkosten werden im Checkout berechnet.
PROXXON 24412 Planscheibe mit Spannpratzen für PD400 / PD400CNCProxxon

Versandkosten werden im Checkout berechnet.
PROXXON 28815 Werkzeugträger / Ersatzträger 5 Stück / Packung Ø2,35mmProxxon
Versandkosten werden im Checkout berechnet.
PROXXON 28294 Silikonpolierer, Form Rad 22 mm, 10 Stück + 1 TrägerProxxon
Versandkosten werden im Checkout berechnet.
PROXXON 28288 Silikonpolierer Form Geschoss 5 teiliger SatzProxxon
Versandkosten werden im Checkout berechnet.
PROXXON 28989 Schleifkappen 9mm je 5 Stück Korn 80 und 150Proxxon
Versandkosten werden im Checkout berechnet.
PROXXON 28987 Schleifkappenträger mit 10 Schleifkappen Korn 80 + 150Proxxon

Versandkosten werden im Checkout berechnet.
PROXXON 28980 1 x Träger mit 10 Schleifbändern Form Zylinder, Korn 150 Ø10mmProxxon
Versandkosten werden im Checkout berechnet.
PROXXON 28982 Schleifteller Ø18mm mit je 5 Schleifscheiben Korn 120+150Proxxon

Versandkosten werden im Checkout berechnet.
PROXXON 28534 Stichsäge STS 12/E - ein 12 Volt GerätProxxon

Versandkosten werden im Checkout berechnet.
PROXXON 28963 Topfbürsten Messing Ø13mm 2 StückProxxon
Versandkosten werden im Checkout berechnet.
PROXXON 28940 MICROMOT Spannzangen Set 6 teilig mit HalterProxxon

Versandkosten werden im Checkout berechnet.
PROXXON 24421 Universal Teilapparat UT400 für PD400 FF500 FF500/BLProxxon

Versandkosten werden im Checkout berechnet.
PROXXON 28462 Feinbohrschleifer FBS 12/EF - ein 12 Volt GerätProxxon

Versandkosten werden im Checkout berechnet.
PROXXON 28410 MICROMOT GerätehalterProxxon
Versandkosten werden im Checkout berechnet.
PROXXON 28812 Trennscheiben Korund Ø 22mm 50 StückProxxon
Versandkosten werden im Checkout berechnet.
PROXXON 28842 Diamanttrennscheibe, 38 mm + 1 TrägerProxxon

Versandkosten werden im Checkout berechnet.
PROXXON 28272 Silizium-Carbid Schleifstifte Form Linse 2 Stück / PackungProxxon

Versandkosten werden im Checkout berechnet.
PROXXON 28270 Silizium-Karbid Schleifstifte 2 Stück/PackungProxxon

Versandkosten werden im Checkout berechnet.
PROXXON 28778 Edelkorund Schleifkörper Form Konus 5 Stück / PackungProxxonStartseite PROXXON MicroMot
Allgemeines:
Hier finden Sie eine große Auswahl an Werkzeugen aus der PROXXON Serie MicroMot. Hauptsächlich sind dieses Maschienen und Einsatzwerkzeuge für den anspruchsvollen Modellbau.
Am einfachsten ist es, das gewünschte Produkt über die 5 stellige Artikelnummer von Proxxon über das Suchefeld zu suchen.
Den aktuellen PROXXON Katalog MicroMot können Sie bei uns im pdf-Format runterladen:
Falls Sie etwas nicht finden oder noch Fragen zu den Produkten haben, so nutzen Sie bitte unser Kontaktformular oder fragen per eMail an.
Video Kanal bei You Tube
Zu vielen Maschinen gibtes ganz interessante Video, die wir in unserem VideoKanal bei YouTube hochgeladen haben:
Hier zu unserem VideoKanal: YouTube FluidOnlinehandel
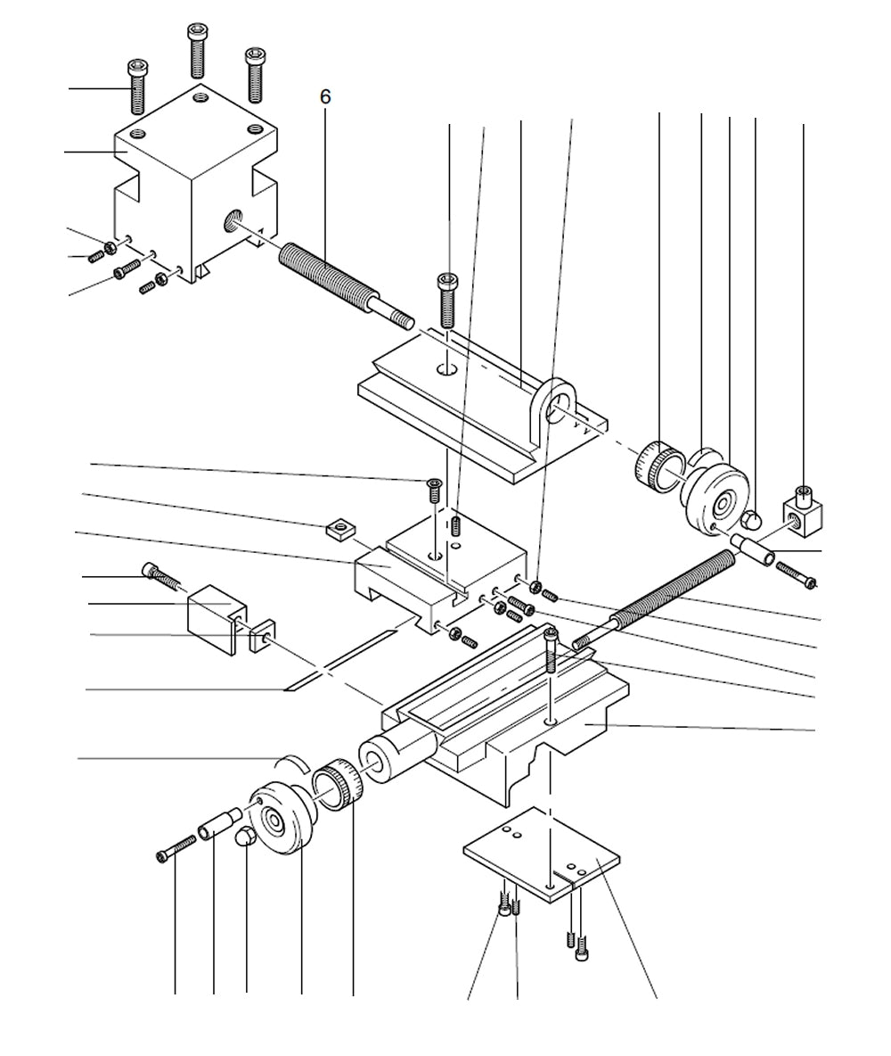
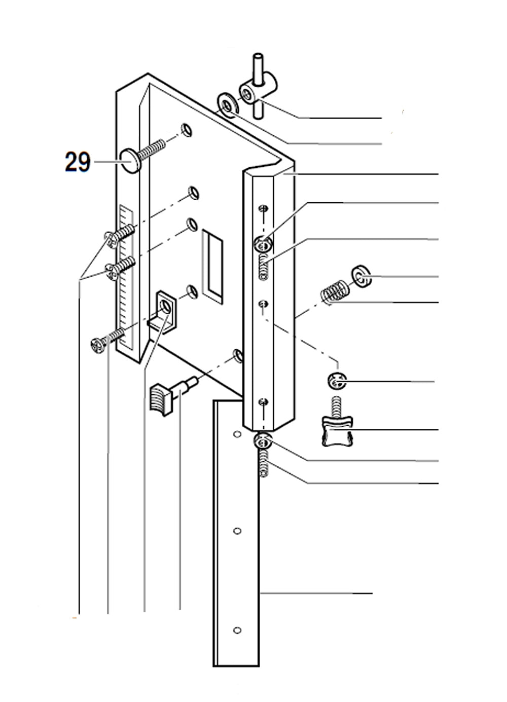
Sie suchen Ersatzteile für Ihre PROXXON Maschine?
Wir können in der Regel alle Ersatzteile zu den PROXXON Maschinen liefern. Auch bei älteren Modellen hält PROXXON relativ lange Ersatzteile vor.
Preise Ersatzteile?
Gerne übermitteln wir vor einem Kauf die Preise für die Ersatzteile. Für ein Preisangebot ist es notwendig, dass Sie uns die genauen Ersatzteilnummern mitteilen. Nutzen Sie bitte dafür unser Kontaktformular oder per eMail an.
Lieferzeit Ersatzteile?
Da der PROXXON Ersatzteilkatalog mehrere 1.000 Positionen enthält, können wir diese nicht vorhalten, sondern müssen diese gesondert erst bestellen.
Die Lieferzeit beträgt in der Regel ca. 3-5 Tage (soweit im PROXXON Zentrallager verfügbar) bis wir die Artikel im Hause haben. Anschließend erfolgt der Versand an Sie